Webthe john deere 62d1 mower deck parts diagram is an invaluable resource when it comes to maintaining and repairing your mower deck. This diagram provides a detailed. Webget the best deals for john deere 62d mower deck at ebay. com. We have a great online selection at the lowest prices with fast & free shipping on many items! Webfind parts & diagrams for your john deere equipment. Search our parts catalog, order parts online or contact your john deere dealer. 8ten double v (hexagonal) drive belt for.
John Deere62C Mower Deck
John Deere Mower DeckWheels
John Deere 42CMower Deck Parts
John Deere46 Mower Deck
John DeereLawn Tractors Mower Deck
John Deere260 Mower Parts
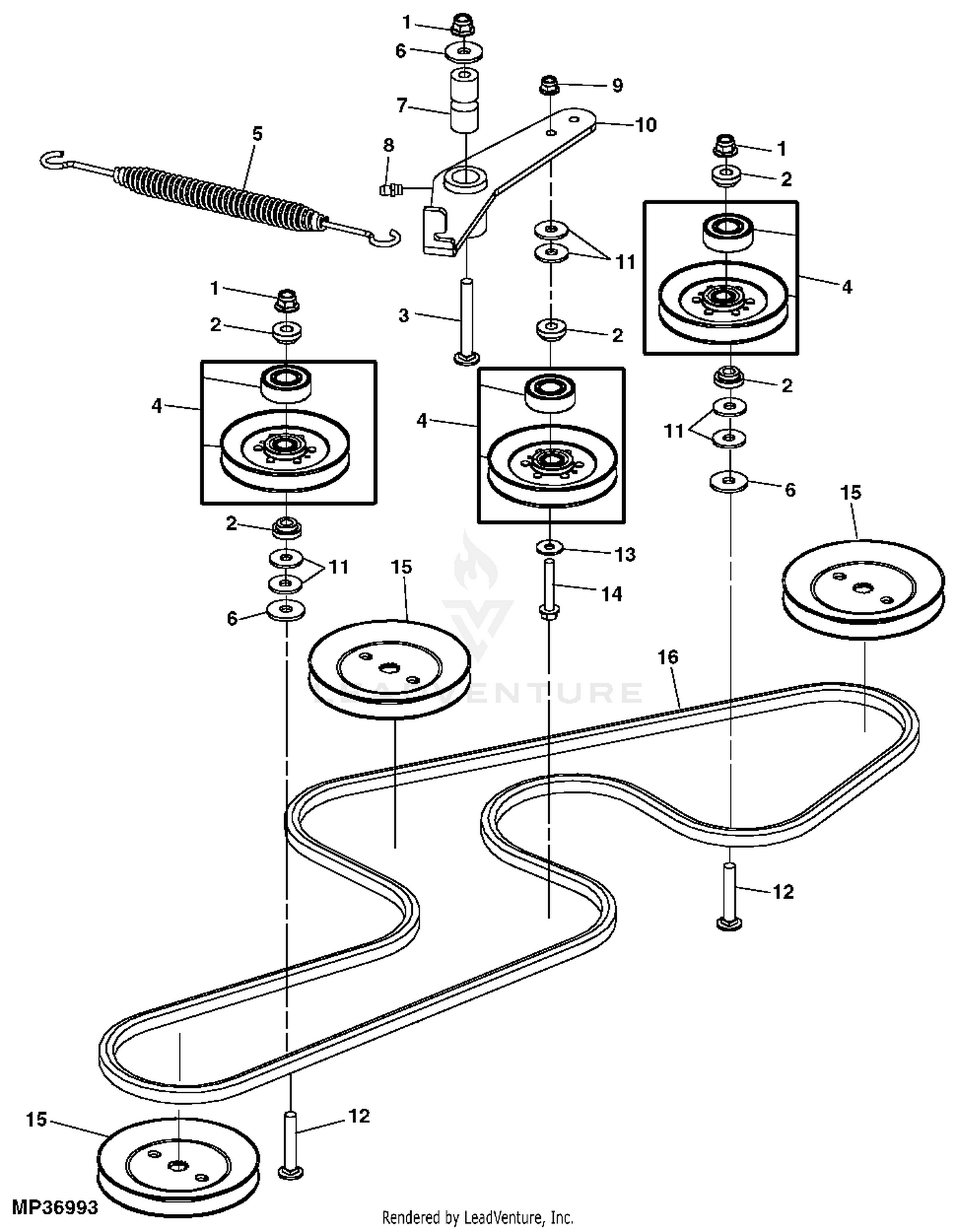
John Deere 54D Mower Deck PartsDiagram
John Deere54 Mower Deck
John Deere GT235Mower Deck Parts
John Deere Mower Deck PartsList
John Deere 72 Mower Deck PartsDiagram
John Deere Mower DeckSpindles
John Deere62 Inch Mower Deck Parts